Steel Detachable Chains
Agricultural Chains
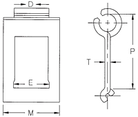
Steel detachable chain is made from special hot rolled strip steel and is heat-treated to assure high strength and long wear life. It is designed for moderate loads and speeds and is also easy to install and repair.
Dimensions are given in inches.
Dimensions are given in inches.
Item # |
Item Name |
Avg. Ultimate Strength |
Min. Tensile Strength |
Pitch (P) |
Dimension (M) |
Dimension (E) |
Dimension (T) |
|---|---|---|---|---|---|---|---|
| 25 SDC /Asset/steel-detachable-chains.jpg | N/A Steel Detachable Chain | Avg. Ultimate Strength N/A 950 lb | Min. Tensile Strength N/A 760 lb | Pitch (P) N/A 0.904 | Dimension (M) N/A 0.703 | Dimension (E) N/A 0.438 | Dimension (T) N/A 0.073 |
| 32 SDC /Asset/steel-detachable-chains.jpg | N/A Steel Detachable Chain | Avg. Ultimate Strength N/A 1,650 lb | Min. Tensile Strength N/A 1,320 lb | Pitch (P) N/A 1.157 | Dimension (M) N/A 0.938 | Dimension (E) N/A 0.610 | Dimension (T) N/A 0.090 |
| 32W SDC /Asset/steel-detachable-chains.jpg | N/A Steel Detachable Chain | Avg. Ultimate Strength N/A 1,650 lb | Min. Tensile Strength N/A 1,320 lb | Pitch (P) N/A 1.157 | Dimension (M) N/A 1.063 | Dimension (E) N/A 0.610 | Dimension (T) N/A 0.079 |
| 33 SDC /Asset/steel-detachable-chains.jpg | N/A Steel Detachable Chain | Avg. Ultimate Strength N/A 1,650 lb | Min. Tensile Strength N/A 1,320 lb | Pitch (P) N/A 1.402 | Dimension (M) N/A 0.938 | Dimension (E) N/A 0.627 | Dimension (T) N/A 0.090 |
| 42 SDC /Asset/steel-detachable-chains.jpg | N/A Steel Detachable Chain | Avg. Ultimate Strength N/A 2,300 lb | Min. Tensile Strength N/A 1,680 lb | Pitch (P) N/A 1.375 | Dimension (M) N/A 1.219 | Dimension (E) N/A 0.800 | Dimension (T) N/A 0.105 |
| 50H SDC /Asset/steel-detachable-chains.jpg | N/A Steel Detachable Chain | Avg. Ultimate Strength N/A 2,600 lb | Min. Tensile Strength N/A 2,240 lb | Pitch (P) N/A 1.375 | Dimension (M) N/A 1.281 | Dimension (E) N/A 0.798 | Dimension (T) N/A 0.125 |
| 51 SDC /Asset/steel-detachable-chains.jpg | N/A Steel Detachable Chain | Avg. Ultimate Strength N/A 2,100 lb | Min. Tensile Strength N/A 1,680 lb | Pitch (P) N/A 1.133 | Dimension (M) N/A 1.094 | Dimension (E) N/A 0.720 | Dimension (T) N/A 0.105 |
| 52 SDC /Asset/steel-detachable-chains.jpg | N/A Steel Detachable Chain | Avg. Ultimate Strength N/A 2,700 lb | Min. Tensile Strength N/A 2,160 lb | Pitch (P) N/A 1.508 | Dimension (M) N/A 1.406 | Dimension (E) N/A 0.760 | Dimension (T) N/A 0.125 |
| 55 SDC /Asset/steel-detachable-chains.jpg | N/A Steel Detachable Chain | Avg. Ultimate Strength N/A 2,800 lb | Min. Tensile Strength N/A 2,240 lb | Pitch (P) N/A 1.630 | Dimension (M) N/A 1.281 | Dimension (E) N/A 0.813 | Dimension (T) N/A 0.125 |
| 62 SDC /Asset/steel-detachable-chains.jpg | N/A Steel Detachable Chain | Avg. Ultimate Strength N/A 4,200 lb | Min. Tensile Strength N/A 3,520 lb | Pitch (P) N/A 1.654 | Dimension (M) N/A 1.563 | Dimension (E) N/A 1.002 | Dimension (T) N/A 0.148 |
| 62A SDC /Asset/steel-detachable-chains.jpg | N/A Steel Detachable Chain | Avg. Ultimate Strength N/A 5,500 lb | Min. Tensile Strength N/A 4,000 lb | Pitch (P) N/A 1.664 | Dimension (M) N/A 1.938 | Dimension (E) N/A 1.002 | Dimension (T) N/A 0.172 |
| 62H SDC /Asset/steel-detachable-chains.jpg | N/A Steel Detachable Chain | Avg. Ultimate Strength N/A 4,400 lb | Min. Tensile Strength N/A 3,600 lb | Pitch (P) N/A 1.654 | Dimension (M) N/A 1.875 | Dimension (E) N/A 1.002 | Dimension (T) N/A 0.148 |
| 67H SDC /Asset/steel-detachable-chains.jpg | N/A Steel Detachable Chain | Avg. Ultimate Strength N/A 5,500 lb | Min. Tensile Strength N/A 4,400 lb | Pitch (P) N/A 2.313 | Dimension (M) N/A 1.875 | Dimension (E) N/A 1.110 | Dimension (T) N/A 0.185 |
| 67XH SDC /Asset/steel-detachable-chains.jpg | N/A Steel Detachable Chain | Avg. Ultimate Strength N/A 6,800 lb | Min. Tensile Strength N/A 5,500 lb | Pitch (P) N/A 2.313 | Dimension (M) N/A 1.875 | Dimension (E) N/A 1.110 | Dimension (T) N/A 0.200 |
| 67W SDC /Asset/steel-detachable-chains.jpg | N/A Steel Detachable Chain | Avg. Ultimate Strength N/A 4,800 lb | Min. Tensile Strength N/A 3,800 lb | Pitch (P) N/A 2.313 | Dimension (M) N/A 2.375 | Dimension (E) N/A 1.110 | Dimension (T) N/A 0.148 |
| 70 SDC /Asset/steel-detachable-chains.jpg | N/A Steel Detachable Chain | Avg. Ultimate Strength N/A 4,800 lb | Min. Tensile Strength N/A 4,000 lb | Pitch (P) N/A 2.013 | Dimension (M) N/A 1.938 | Dimension (E) N/A 1.110 | Dimension (T) N/A 0.172 |
| 72 SDC /Asset/steel-detachable-chains.jpg | N/A Steel Detachable Chain | Avg. Ultimate Strength N/A 4,800 lb | Min. Tensile Strength N/A 4,000 lb | Pitch (P) N/A 2.025 | Dimension (M) N/A 1.938 | Dimension (E) N/A 1.110 | Dimension (T) N/A 0.172 |
| S SDC /Asset/steel-detachable-chains.jpg | N/A Steel Detachable Chain | Avg. Ultimate Strength N/A 4,800 lb | Min. Tensile Strength N/A 3,840 lb | Pitch (P) N/A 2.906 | Dimension (M) N/A 1.938 | Dimension (E) N/A 1.116 | Dimension (T) N/A 0.172 |
| 72 1/2 SDC /Asset/steel-detachable-chains.jpg | N/A Steel Detachable Chain | Avg. Ultimate Strength N/A 4,500 lb | Min. Tensile Strength N/A 3,600 lb | Pitch (P) N/A 1.643 | Dimension (M) N/A 2.00 | Dimension (E) N/A 1.172 | Dimension (T) N/A 0.148 |


