We are able to custom manufacture attachments per your specific request.
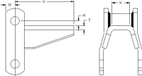
Dimensions are given in inches.
Dimensions are given in inches.
Unit of Measure
Specifications
Attachment No. |
N/A H2 |
Chain Number |
N/A WH78 |
Weight |
N/A 4.75 lb/ft |
Drawing |
N/A
Steel-Mill-H2 Attachment Drawing |
Dimension (G) |
N/A 3.56 |
Dimension (H) |
N/A 0.31 |
Dimension (K) |
N/A 1.10 |
Dimension (R) |
N/A 0.56 |
Dimension (T) |
N/A 0.25 |

