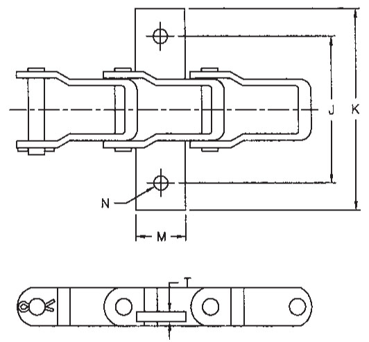
Dimensions are given in inches.
Unit of Measure
Specifications
Chain Size |
N/A AL667XH |
Attachment No. |
N/A K1S |
Drawing |
N/A
Dimensions<!--K1S--> |
Dimension (J) |
N/A 3.75 |
Dimension (K) |
N/A 4.658 |
Dimension (M) |
N/A 1.125 |
Dimension (N) |
N/A 0.375 |
Dimension (T) |
N/A 0.25 |

