Dimensions are given in inches.
Unit of Measure
Specifications
Chain Size |
N/A AL667X |
Attachment No. |
N/A HB4 |
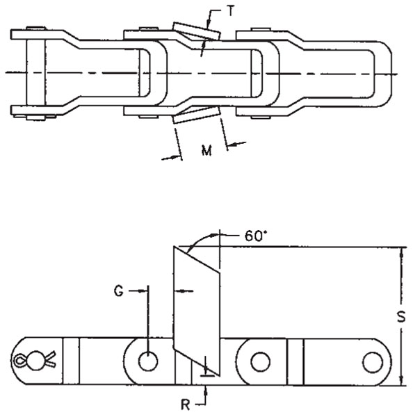
Drawing |
N/A
Dimensions<!--HB4--> |
Dimension (G) |
N/A 0.594 |
Dimension (M) |
N/A 0.750 |
Dimension (S) |
N/A 2.160 |
Dimension (T) |
N/A 0.188 |

