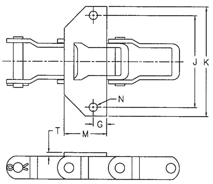
Dimensions are given in inches.
Unit of Measure
Specifications
Chain Size |
N/A AL662 |
Attachment No. |
N/A AK1 |
Drawing |
N/A
Dimensions<!--AK1--> |
Dimension (G) |
N/A 0.438 |
Dimension (J) |
N/A 2.938 |
Dimension (K) |
N/A 3.500 |
Dimension (M) |
N/A 1.375 |
Dimension (N) |
N/A 0.266 |
Dimension (T) |
N/A 0.125 |

