Skip To Content

Catalog

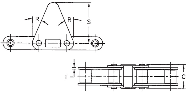
Dimensions are given in inches.
Unit of Measure

Specifications

Chain Size

N/A CA620

Attachment No.

N/A C30E

Drawing

N/A Dimensions<!--C30E-->

Dimension (C)

N/A 1.531

Angle (R)

N/A 22.5 º

Dimension (S)

N/A 2.313

Dimension (T)

N/A 0.125

Applications Served

N/A agriculture corn gathering