Skip To Content

Catalog

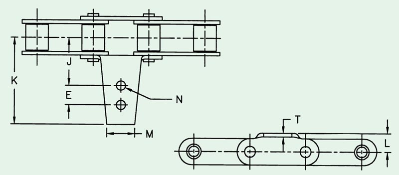
Dimensions are given in inches.
Unit of Measure

Specifications

Chain Size

N/A CA620

Attachment No.

N/A A12

Drawing

N/A Dimensions<!--A12-->

Dimension (E)

N/A 0.625

Dimension (J)

N/A 1.375

Dimension (K)

N/A 2.500

Dimension (M)

N/A 0.813

Dimension (N)

N/A 0.266

Dimension (T)

N/A 0.125

Applications Served

N/A agriculture conveyors corn gathering elevator feed stations feeder house forage harvesters and baggers grain handling manure spreaders