Skip To Content

Catalog

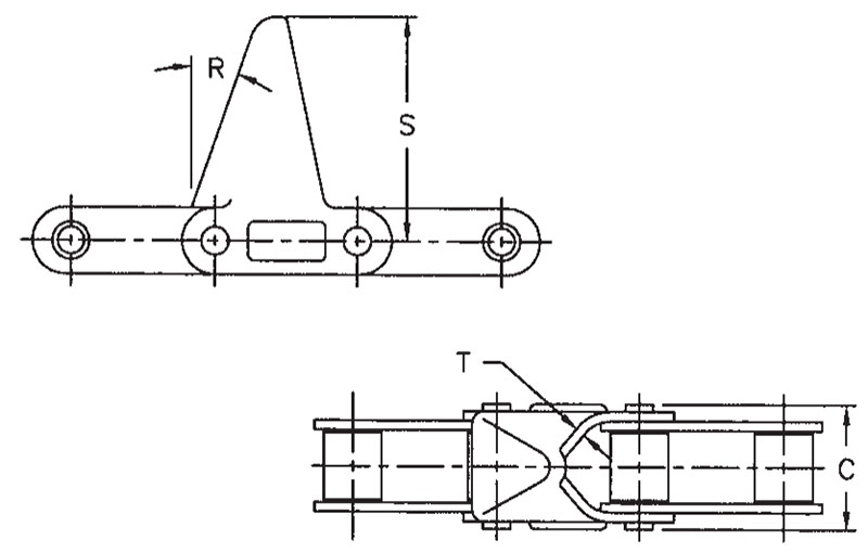
Dimensions are given in inches.
Unit of Measure

Specifications

Chain Size

N/A CA550

Attachment No.

N/A C11E

Drawing

N/A Dimensions<!--C11E, C14E-->

Dimension (C)

N/A 1.266

Angle (R)

N/A 17 º

Dimension (S)

N/A 2.500

Dimension (T)

N/A 0.105

Applications Served

N/A agriculture corn gathering